统一身份认证平台
用户手册与操作指南 - 点击左侧目录可快速跳转到对应内容
文档目录
1 说明
本手册旨在指导用户使用统一身份认证平台。
读者需掌握以下知识:
掌握Chrome、IE或其它浏览器的使用。
本手册的读者为:
使用该认证系统的全校师生。
2 登录说明
2.1 认证登录
身份认证功能,用于学校对学生、教师和其他人员的数字化身份的登录验证。主要包括:
通过统一的登录界面,对用户输入的帐号和密码进行认证,登录相应认证的业务系统。
访问方式:如 https://pass.zwu.edu.cn/cas/login 登录认证平台,点击【登录】,输入帐号密码登录认证平台

1、账密登录

2、扫码登录(【我的万里APP】扫码)

3、微信联合登录(绑定自己微信)

4、手机验证码登录

2.2 账号激活
账号激活服务用于新用户进入系统时进行预注册,免去传统身份认证系统需要给予用户初始化密码的操作,同时可在账号激活过程中完成用户的手机号码基础信息的绑定,为后续找回密码,人员匹配等功能提供数据支撑。


第一步:用户填写已经提前预置在系统中的学工号/身份证号,确认身份的有效性

第二步:用户绑定手机,以方便后续找回密码使用。

当用户输入手机后,点击【获取验证码】,输入获取短信验证码信息操作,方可继续激活流程。当前用户已绑定过手机,直接进行密码设置,激活即可。

第三步:用户设置密码,同时系统将按照系统提示密码强度要求填写密码,不满足密码强度要求的,则不允许用户提交
第四步:完成激活

注意:新生如果通过通知书号或者考生号激活账号后,登录账号就是您的学号。
2.3 忘记密码
当用户记不清密码的情况下,可以使用忘记密码功能进行密码找回。

第一步:输入自己的帐号、验证码

第二步:安全验证,找回密码方式(手机号验证),获取验证码验证

第三步:设置密码,重新设置新的密码

第四步:找回成功

账号申诉(包含更换绑定手机号,原号码已停用)
当用户无法通过以上三种途径找回密码,可以通过账号申诉方式。账号申诉需要提交相应照片信息,证明是用户本人,由管理员进行审核通过,密码自动重置等服务。

步骤1:填写必要信息,内容信息必填如实填写,上传证明材料

步骤2:提交后,等待管理员审核结果。当审核通过后,您申诉填写的手机会收到一条短信或者申诉填写邮箱会收到新初始密码,如果审核不通过您也会收到审核不通过短信或者邮箱,根据发送内容要求进行后续咨询。

步骤3:由于是系统自动初始密码,需要您登录时修改为自己设置的新密码,并且满足密码强度要求


2.4 多因子认证
多因子认证提供更高级别的安全保护...
休眠账号/异常环境登录账号/开启的二次登录系统
针对特定场景的安全验证机制...

2.5 个人中心
进入门户平台后,点击右上角【个人中心】,进入认证中心功能页面。

2.6 退出登录
进入认证平台后,点击右上角【退出登录】,退出认证。
![]()
3 系统设置
统一身份认证平台系统,旨在为用户提供一个统一的、友好的操作界面,以方便普通用户进行身份的认证,管理用户的账号信息。
3.1 帐号安全
3.1.1 设置帐号
用户可以修改自己的个人资料,包括如下几项:
1、登录密码:提供用户修改自己密码的功能
2、邮箱绑定:绑定新邮箱或者解绑邮箱
3、手机号绑定:解绑或者更换新手机号,填写用户的手机号码,用于密码找回
操作界面如下:

3.1.2 第三方账号
绑定微信联合登录账号,用于扫码登录

3.1.3 关联账号
此部分功能是针对多身份用户的,这里提供用户指定主身份账号。可以自由切换。单身份的,默认账号就是主身份。

3.1.4 生物识别
使用生物特征进行身份验证...

3.1.5 安全令牌
此部分功能是针对用户绑定数盾小程序,用于可信设备登录异常等场景触发二次验证方式。

3.1.6 可信设备管理
管理用户信任的设备列表...

3.2 认证记录
3.2.1 当前登录
记录用户帐号的当前登录情况,包括客户端IP、登入时间、客户端类型。同时支持踢出当前登录。

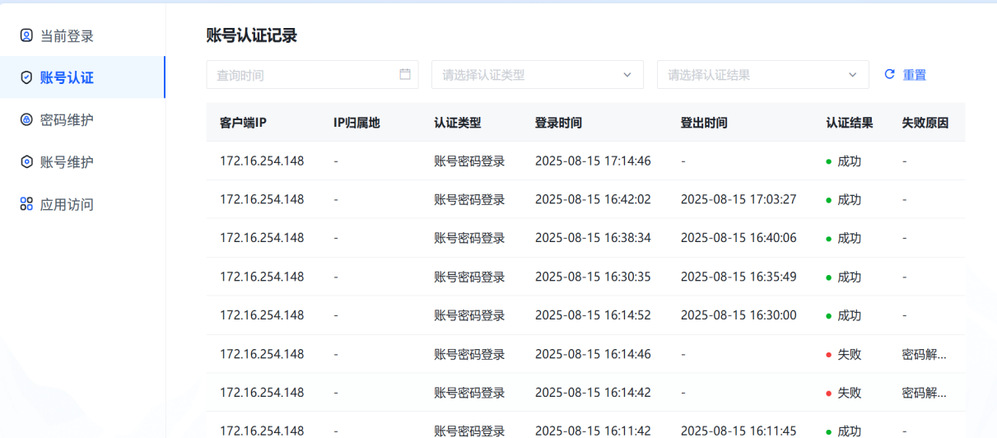
3.2.2 帐号认证
记录用户帐号的登入时间、登出时间、认证类型、客户端类型、客户端IP、认证结果。方便用户查看什么时间段登录过以及登录结果。

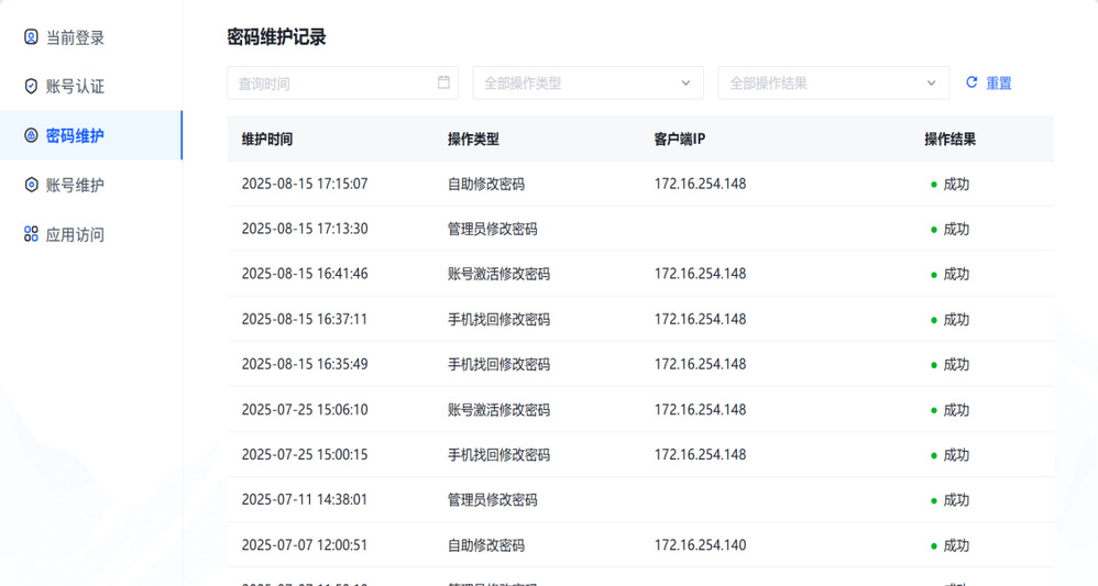
3.2.3 密码维护
记录对该帐号进行密码的维护时间、操作类型、客户端IP以及操作结果。

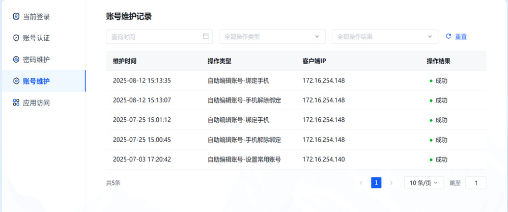
3.2.4 帐号维护
记录所有对该帐号进行维护操作的维护时间、操作类型、客户端IP以及操作结果。

3.2.5 应用访问
记录对该帐号登录的系统、认证时间和认证结果。

3.3 个人设置
管理个人账户相关信息...

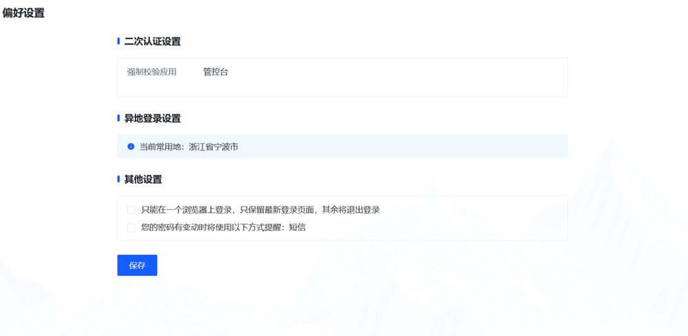
3.4 偏好设置
二次认证设置:显示系统设置的需要二次认证系统
异地登录设置:显示系统登录常用地
其他设置:您的密码有变动时将使用以下方式提醒:短信

3.5 移动端
移动页面认证功能同电脑端服务,通过【我的万里APP】,首次安装/登录

3.5.1 账密登录
输入账号密码,需勾选【阅读并同意】,点击【登录】

3.5.2 手机验证码登录
通过手机验证码进行登录...

3.5.3 其他功能
账号激活:服务用于新用户进入系统时进行预注册,免去传统身份认证系统需要给予用户初始化密码的操作,同时可在账号激活过程中完成用户的手机号码基础信息的绑定,为后续找回密码,人员匹配等功能提供数据支撑。
忘记密码:当用户记不清密码的情况下,可以使用忘记密码功能进行密码找回。

自助服务中心:归类页面,账号激活,忘记密码,登录身份认证中心等。

3.5.4 个人中心
移动端个人中心功能...




